
清空记录
历史记录
取消
清空记录
历史记录

1
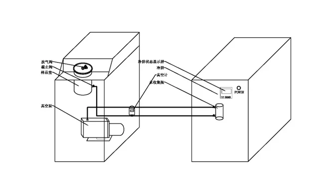
简介
RT4610型低温真空解析装置依据水在不同温度与压力下的状态差异,在不破坏样品中原有结构形状的同时,低温真空萃取出样品中的自由水份。
整个系统由样品桶、真空计、收集瓶、冷阱、机械泵与相关的阀门、气路管线组成。阀门管线均采用世伟洛克产品,保证系统的密封性,保证回收率与减小本底污染。
系统工作时高度真空,以减少环境中空气中的水蒸气所造成的本底污染,同时冷阱系统的温度足够低,保证对水分的完全收集。该装置适用于一切环境样品(植物、肉类、鱼类等)。
系统对实验室无特殊要求,解析方式为真空+低温冷却,自由水回收率分别为95%(3小时),97%(6小时),99%(24小时)。

样品中自由水的相变过程示意图
1
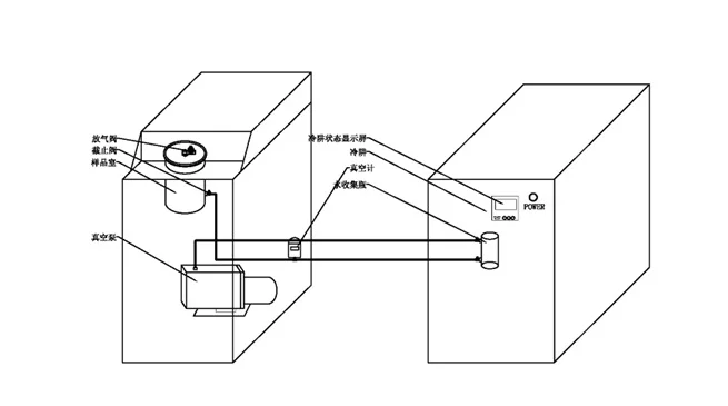
简介
RT4610型低温真空解析装置依据水在不同温度与压力下的状态差异,在不破坏样品中原有结构形状的同时,低温真空萃取出样品中的自由水份。
整个系统由样品桶、真空计、收集瓶、冷阱、机械泵与相关的阀门、气路管线组成。阀门管线均采用世伟洛克产品,保证系统的密封性,保证回收率与减小本底污染。
系统工作时高度真空,以减少环境中空气中的水蒸气所造成的本底污染,同时冷阱系统的温度足够低,保证对水分的完全收集。该装置适用于一切环境样品(植物、肉类、鱼类等)。
系统对实验室无特殊要求,解析方式为真空+低温冷却,自由水回收率分别为95%(3小时),97%(6小时),99%(24小时)。

样品中自由水的相变过程示意图
Online Message
在线留言
Related Products
相关产品
